Maßstabsparadoxon widerlegt Längenkontraktion

Hier wird die Relativitätstheorie Einsteins kritisiert oder verteidigt

Maßstabsparadoxon widerlegt Längenkontraktion

Beitragvon Harald Maurer » Do 7. Jul 2011, 22:46

Ich zitiere das Maßstabsparadoxon und dessen Lösung in Wikipedia http://de.wikipedia.org/wiki/Paradoxon_der_L%C3%A4ngenkontraktion#Ma.C3.9Fstabsparadoxon :

Ein Stab der Länge L bewege sich mit einer Geschwindigkeit v parallel zu einem ruhenden Loch, das ebenfalls die Breite L besitzt. Gleichzeitig bewegt sich der Stab noch mit einer kleinen, senkrechten Geschwindigkeit ε auf das Loch zu:[5] [6]
(Für die beiden einleitenden Abbildungen werde v so klein gegen die Lichtgeschwindigkeit c angenommen, dass keine relativistischen Effekte hervortreten.)
Bild
Zu einem geeigneten Zeitpunkt t=0 durchquert der Stab parallel das ruhende Loch:
Bild
Fall (A): Der Stab bewegt sich parallel auf das ruhende Loch zu.
Vom Bezugssystem des ruhenden Lochs aus betrachtet erscheint der schnell (hier mit ca. v=0.94c) bewegte Stab durch die Längenkontraktion verkürzt auf die Länge L’ < L und passt damit bequem durch das Loch:
Bild
Fall (B): Das Loch bewegt sich auf den ruhenden Stab zu
Betrachtet man die Situation allerdings vom mitbewegten System des Stabes aus, so ruht der Stab und das Loch bewegt sich relativ zum Stab mit der hohen Geschwindigkeit v auf den Stab zu: (In der oberen Abbildung bei t<0 wird das Loch noch in der Länge L gezeigt, die es in Ruhe hat, bevor es auf v beschleunigt wird.)
Bild
Vom nun als ruhend angesehenen Stab aus betrachtet, der in diesem Ruhesystem die Länge L besitzt, wirkt sich die Längenkontraktion jetzt auf das bewegte Loch aus, das nur noch die Breite L’ < L besitzt, so dass der Stab nicht mehr quer durch das Loch passt:
Bild
Das ist aber ein Widerspruch . Die Abmessungen können zwar wechselseitig verkürzt zueinander erscheinen, die Aussage, dass der Stab das Loch passiert, aber kann nicht von der Wahl des Bezugssystems abhängig gemacht werden; sonst wäre die Relativitätstheorie widersprüchlich und falsch.

Auflösung des Paradoxons:
Bild
Berücksichtigt man die transformierte Zeit, bewegen sich Stab und Loch nicht mehr parallel aufeinander zu, die beiden Enden des Stabes durchqueren das Loch zu unterschiedlichen Zeitpunkten, der Stab passt somit durch das Loch. Daraus folgt erstens: Gleichzeitige Ereignisse in einem Inertialsystem laufen in einem anderen unterschiedlich schnell bewegten Inertialsystem nicht ebenfalls gleichzeitig ab, und zweitens sind „parallele“ Geraden im anderen Inertialsystem nicht mehr parallel: Der Winkel zwischen zwei Raumrichtungen wird von zwei sich relativ zueinander bewegenden Beobachtern unterschiedlich gemessen.
Die Argumentation kann auch andersherum durchgeführt werden: Geht man von einem ruhenden Stab aus, auf den sich tatsächlich ein Loch parallel zu bewegt, dann erzeugt die Transformation in das System des ruhenden Lochs (Fall (A)) nun die Verkippung des Stabes (In der vorherigen Darstellung war es genau umgekehrt, dort wurde das Loch verkippt und nicht der Stab). Das Maßstabsparadoxon lässt sich so in jedem Fall widerspruchsfrei im Rahmen der Relativitätstheorie auflösen. (Ende des Zitats).

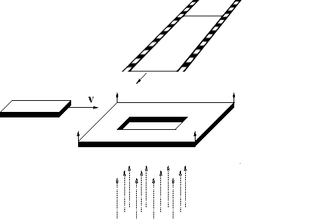
Sehen wir uns nun an, was es mit der Widerspruchsfreiheit auf sich hat. Wir schneiden aus der ebenen Tafel eine rechteckige Platte heraus, die somit genau in das entstandene Loch passt und führen das Gedankenexperiment analog zu der im Wikipedia geschilderten Weise durch. Wir ergänzen die Anordnung aber oberhalb mit einem über das Loch laufenden unbelichteten Film und postieren unter dem Loch eine Lichtquelle. "Klassisch" sieht das dann so aus:
klassisch.gif
klassisch.gif (2.82 KiB) 13611-mal betrachtet

Klassisch könnte dieses Maßstabsparadoxon gar nicht funktionieren, denn durch die schräge Komponente der Zueinanderbewegung von Platte und Loch würde die Platte wahrscheinlich nicht durch das Loch kommen, sondern an der Lochkante anstoßen. Zum Glück gibt es aber die SRT. Und wie in der Auflösung bei Wikipedia gezeigt, kippt das Loch aus Sicht des Bezugssystems der herausgeschnittenen Platte nach oben, das Loch ist dabei zwar lorentzkontrahiert, aber die Verkippung des Lochs ermöglicht es der Platte, anstandslos durch das eigentlich nun zu kleine Loch zu kommen. Im Augenblick der Durchquerung deckt die Platte das Loch vollständig ab und der oberhalb laufende Film wird deshalb in diesem Moment nicht belichtet werden; er wird also zuerst eine geschwärzte Strecke aufweisen, danach eine unbelichtete, helle Strecke und danach wieder eine geschwärzte.
bs_platte.gif
bs_platte.gif (3.59 KiB) 13510-mal betrachtet

Aus Sicht des Bezugssystems des Lochs sieht das nun ganz anders aus. Jetzt ist die Platte sowohl verkürzt als auch verkippt und freilich wird sie auch jetzt anstandslos durch das nicht kontrahierte Loch kommen. Hurra, das Paradoxon ist gelöst! Ist es das tatsächlich?
Leider nicht:
bs_loch.gif
bs_loch.gif (3.53 KiB) 13544-mal betrachtet

Wenn im nichtkontrahierten Bezugssystem des Lochs die nun verkürzte Platte die Durchquerung vornimmt, kommt es nicht zur vollständigen Abschattung des Lochs! Es gibt also keinen Moment, an welchem das Licht von unten nicht durch das Loch käme - und der Film muss nun ein anderes Belichtungsergebnis aufweisen. Er wird nirgends einen Abschnitt aufweisen können, welcher unbelichtet geblieben wäre!
Es ergibt sich deshalb ein unlösbares Paradoxon, weil dieser Film nicht zwei unterschiedliche Belichtungsformen gleichzeitig aufweisen kann. Aber welche gilt denn nun? Hat er eine unbelichtete Strecke zwischen den geschwärzten, oder eine etwas schwächer geschwärzte Strecke zwischen den total geschwärzten???
Wikipedia: "Das Maßstabsparadoxon lässt sich so in jedem Fall widerspruchsfrei im Rahmen der Relativitätstheorie auflösen."
Soso! Ist ja schon eine recht wunderbare Theorie, diese SRT!

Dieses Gedankenexperiment zeigt erstens deutlich, dass schon die reale Kontraktion nach Lorentz unsinnig ist und zweitens die Kontraktion lt. Einstein als "Messeffekt" keine physikalische Auswirkung haben kann, also mit keiner materiellen Veränderung oder Wirkung einhergeht. Das ist natürlich fatal, denn für den Prozess der elektromagnetischen Induktion benötigt man für die SRT-Erklärung eine reale Kontraktion!
Da wird man sich wohl etwas Neues einfallen lassen müssen!

Grüße
Harald Maurer
Harald Maurer
Administrator
 
Beiträge: 3218
Registriert: Di 30. Dez 2008, 13:05
Wohnort: Graz

Re: Maßstabsparadoxon widerlegt Längenkontraktion

Beitragvon Ernst » Fr 8. Jul 2011, 19:19

Harald Maurer hat geschrieben:Da wird man sich wohl etwas Neues einfallen lassen müssen!

Das gilt eher für uns Kritiker.
Es macht zwar Spass, die dogmatische (und nicht sattelfeste) Fraktion der Relativisten mit solchen Spielchen zu ärgern. Ich habe mich ja auch des öfteren daran beteiligt (das gleichwertige Panzerparadoxon). Aber im Hinterkopf sollte man schon behalten, daß mit solchen Aufschlägen die SRT nicht auszuhebeln ist. Das Problem ist mittels der vollständigen Transformation beherrschbar. Gerade für dieses Problem wurde von relativistisch Bewanderten die rechnerisch richtige Behadlung gezeigt.

Gruß
Ernst
Ernst
 
Beiträge: 11188
Registriert: Mi 31. Dez 2008, 18:58

Re: Maßstabsparadoxon widerlegt Längenkontraktion

Beitragvon Harald Maurer » Fr 8. Jul 2011, 20:13

Ernst hat geschrieben:Gerade für dieses Problem wurde von relativistisch Bewanderten die rechnerisch richtige Behandlung gezeigt.

Ja, wo denn? Mit dem Panzerparadoxon gleichwertig ist das Maßstabsparadoxon ohne den Film! Mit dem Film und der Frage, ob er je nach Bezugssystem unterschiedlich belichtet wird, hat dieses Paradoxon eine schwerer wiegende Bedeutung gegen die SRT. Du kannst es lösen? Wie würde der Film denn aussehen? Belichtet oder nicht belichtet?
Ernst hat geschrieben:Das Problem ist mittels der vollständigen Transformation beherrschbar.

Ja? Die vollständige Lorentztransformation liegt doch der Lösung, die im Wikipedia angeboten wird, bereits zugrunde. Das funktioniert aber offensichtlich nicht!
Also wie sieht denn die Beherrschung des Problems mit der "vollständigen" LT aus? Es nur zu behaupten, ist zu wenig!

Grüße
Harald Maurer
Harald Maurer
Administrator
 
Beiträge: 3218
Registriert: Di 30. Dez 2008, 13:05
Wohnort: Graz

Re: Maßstabsparadoxon widerlegt Längenkontraktion

Beitragvon Harald Maurer » Sa 9. Jul 2011, 13:02

Veritatibus hat geschrieben:Na dann müssen Sie ja nur noch der Natur beibringen, sich nicht so zu verhalten, wie es die LT beschreiben kann.

Kann sie ja nicht. Siehe obige Maßstabsparadoxon-Variante!
Die SRT ist keine Naturbeschreibung. Ganz im Gegenteil verdreht sie die Natur so,dass sie unbeschreibbar wird. Oder Sie können mit der LT zeigen, was aus dem Film in meinem Maßstabsparadoxon wird.
Können Sie?

Grüße
Harald Maurer
Harald Maurer
Administrator
 
Beiträge: 3218
Registriert: Di 30. Dez 2008, 13:05
Wohnort: Graz

Re: Maßstabsparadoxon widerlegt Längenkontraktion

Beitragvon Mordred » Sa 9. Jul 2011, 13:35

Veritatibus hat geschrieben:Na dann müssen Sie ja nur noch der Natur beibringen, sich nicht so zu verhalten, wie es die LT beschreiben kann. ;)
Was kann sie beschreiben, was in der Natur tatsächlich bestätigt wurde ? (müde lächelnd lasse ich GPS und das Myon mal aussenvor. Zu oft schon durchgekaut und als hinlänglich unzureichend erkannt.)
Und wenn etwas bestätigt wäre, wozu dann noch beschreiben ?
Dient dann doch der Fakt als Nachweis und Beleg.

Gruß Mordred
Mordred
 
Beiträge: 1131
Registriert: Mi 16. Sep 2009, 15:23

Re: Maßstabsparadoxon widerlegt Längenkontraktion

Beitragvon Harald Maurer » Sa 9. Jul 2011, 15:23

Veritatibus hat geschrieben:Und bevor ich auf ihre Fragen antworte, können Sie erstmal ein paar meiner Fragen beantworten, diese scheinen Sie auch zu überlesen, wenn ich sie mehrfach stelle.

Habe ich etwas überlesen? Welche Frage habe ich nicht beantwortet? Werten Sie eine Frage als nicht beantwortet, wenn die Antwort nicht der SRT oder Ihrer Meinung diesbezüglich entspricht?

Grüße
Harald Maurer
Harald Maurer
Administrator
 
Beiträge: 3218
Registriert: Di 30. Dez 2008, 13:05
Wohnort: Graz

Re: Maßstabsparadoxon widerlegt Längenkontraktion

Beitragvon Ernst » Sa 9. Jul 2011, 17:28

Harald Maurer hat geschrieben:Also wie sieht denn die Beherrschung des Problems mit der "vollständigen" LT aus? Es nur zu behaupten, ist zu wenig!

Solche Versuche gibt es unzählige. Nach sorgfältiger Analyse lösen sie sich alle in Wohlgefallen auf. Deines mit Sicherheit auch. Man kann die SRT auf diese Weise nicht aushebeln. Ich habe keine Zeit aber auch keine Lust, das hier zu übernehmen. Da der Ausgang gewiß ist.
Ähnlich auch wie früher bei deiner Lochkamera, welche Dietmar auflöste.

Gruß
Ernst
Ernst
 
Beiträge: 11188
Registriert: Mi 31. Dez 2008, 18:58

Re: Maßstabsparadoxon widerlegt Längenkontraktion

Beitragvon Harald Maurer » Sa 9. Jul 2011, 21:48

Ernst hat geschrieben:Solche Versuche gibt es unzählige. Nach sorgfältiger Analyse lösen sie sich alle in Wohlgefallen auf.

Nee, es gibt genug Paradoxa, die sich mit der SRT nicht lösen lassen. Zum Beispiel das U-Boot-Paradoxon:
Ein U-Boot, das sich mit relativistischer Geschwindigkeit bewegt, erscheint für einen landansässigen Beobachter verkürzt. Daher verliert es an Auftrieb und sollte auf den Grund sinken. Vom Standpunkt der Bootsmannschaft aus ist die Situation allerdings gerade umgekehrt, und das U-Boot sollte nach oben steigen. Die Lorentz-Kontraktion müsste das U-Boot, das in einem ruhenden System die gleiche Dichte wie Wasser aufweist und daher auf konstanter Höhe schwimmt, zum Sinken bringen, da dessen Dichte aufgrund der Kontraktion zunimmt. Vom Bezugssystem der Bootsmannschaft allerdings ruht das Boot, und das Wasser schnellt vorbei. Daher erscheint es dichter als das Boot, und in Folge dessen sollte das Boot aufsteigen...
Ernst hat geschrieben:Deines mit Sicherheit auch.

Mit Sicherheit nicht. Wer das behauptet, soll's mal vorzeigen!
Ernst hat geschrieben:Da der Ausgang gewiß ist.
Ähnlich auch wie früher bei deiner Lochkamera, welche Dietmar auflöste.

Hat er nicht aufgelöst! Da ist nämlich ein Problem übrig geblieben: Er musste in seiner Auflösung eine Kontraktion der waagrechten Komponenten der Lichtstrahlen annehmen. Und das ist verfehlt, denn Einstein hat selbst in seinem Kugelwellen-Beweis gezeigt, dass mit der LT die Form der Lichtausbreitung nicht vom Bezugssystem abhängt, d.h. Lichtsphären kontrahieren nicht, und selbstverständlich auch Lichtstrahlen nicht. Nach SRT ist Licht sowohl in x-als auch y-Richtung konstant! Die SRT strauchelt im Lochkamera-Paradoxon daher über die eigenen Beine und das Paradoxon ist deshalb nicht lösbar!
http://www.mahag.com/srt/camera2.php

Grüße
Harald Maurer
Harald Maurer
Administrator
 
Beiträge: 3218
Registriert: Di 30. Dez 2008, 13:05
Wohnort: Graz

Re: Maßstabsparadoxon widerlegt Längenkontraktion

Beitragvon Harald Maurer » Sa 9. Jul 2011, 22:14

Hier noch etwas zum Nachdenken!

Zwillingsparadoxon mal etwas anders:
Wir starten jeweils ein Raumschiff an den Enden einer langen Laufstrecke und lassen beide zueinander fliegen. Den Start synchronisieren wir mit der Einstein-Methode, d.h. wir lösen im Mittelpunkt der Laufstrecke gleichzeitig jeweils einen Lichtblitz zu den Raumschiffen aus, und sie starten in dem Moment der Ankunft der Lichtstrahlen. In den Ruhesystemen der Raumschiffe kommt jeweils das andere Raumschiff näher und jeder Beobachter sieht die Uhr des anderen dilatiert, also verlangsamt laufen. Damit muss von jedem Bezugssystem aus angenommen werden, dass der jeweils bewegte, andere Beobachter gegenüber dem ruhend definierten langsamer altert!
Im Mittelpunkt der Laufstrecke treffen die beiden Raumschiffe zusammen und die Beobachter können ihre Uhren vergleichen.
Frage 1: sind jetzt beide Beobachter langsamer gealtert? Oder welcher?
Frage 2: was zeigen ihre Uhren? Das Ergebnis der ZD, oder ihre Eigenzeiten?
Anmerkung dazu: die ZD ist kumulativ, die Uhren sind verlangsamt gelaufen und müssten eine dementsprechende Zeit anzeigen. Das aber widerspricht der Uhrenhypothese, nach welcher die Uhren in den Bezugssystemen der Raumschiffe selbst ihren Gang nicht verändern dürfen!
Viel Spaß beim Auflösen!

Grüße
Harald Maurer
Harald Maurer
Administrator
 
Beiträge: 3218
Registriert: Di 30. Dez 2008, 13:05
Wohnort: Graz

Re: Maßstabsparadoxon widerlegt Längenkontraktion

Beitragvon Harald Maurer » So 10. Jul 2011, 09:53

Highway hat geschrieben:Gegenfrage: Wieso ist die Zeitdilatation kumulativ? Das verstehe ich noch nicht so ganz.

Kumulativ bedeutet, dass Die ZD nicht von der Entfernung abhängt, sondern von der Reisedauer. Der Zeitunterschied wird also umso größer, je länger das bewegte BS unterwegs ist. Und es bedeutet auch, dass die dilatiert laufenden Uhren dies tatsächlich tun und es sich daher nicht um einen optischen Effekt handelt, der von der Entfernung bzw. von Entfernungsänderungen und den damit verbundenen unterschiedlichen Laufdauern des Lichts abhängt. Der von der dilatiert laufenden Uhr angezeigte Zeitunterschied kann deshalb nicht beim Uhrenvergleich wieder rückgängig gemacht werden ( da müssten die Uhranzeigen sich sprunghaft verändern). Im Gegensatz dazu ist die LK nicht kumulativ, sondern ein Effekt, der nur während der Bewegung auftritt und verschwindet, wenn die Bewegung aufhört, weil er ja nur bei Messung des bewegten BS in Erscheinung tritt und nicht mehr, wenn das BS ruhend gemessen wird. Bewegte Uhren sind daher gegenüber ruhend definierten Uhren beim Vergleich tatsächlich langsamer gelaufen und zeigen dies auch an (Hafele-Keating, Maryland etc...) Kommt es aber tatsächlich zu einem unmittelbaren Uhrenvergleich, wird das problematisch, weil die bewegte Uhr, die eigentlich die ZD nur als relativen Effekt aufweisen sollte, diesen relativen Effekt in ihrem Eigensystem nicht haben kann, also hier nicht dilatiert gelaufen sein darf, woraus sich natürlich eine andere Zeitanzeige ergeben müsste und die Uhr nicht beiden Prinzipien (ZD kontra Uhrenhypothese) gleichzeitig entsprechen kann, möge sie auch noch zu schiziod veranlagt sein!
Ist eine bewegte Uhr gegenüber einer ruhenden langsamer gelaufen und zeigt sie dies durch Vergleich auch an, ist daraus ersichtlich, das sie gegenüber der Referenzuhr tatsächlich die bewegte war und die Referenzuhr die ruhende. Damit ist aber das Relativitätsprinzip verletzt, das ja eine Feststellung zwischen bewegt und ruhend nicht zulässt und auch die "ruhende" Uhr gegenüber der anderen als bewegt angesehen werden muss. Die ZD der SRT dürfte also nur während der Bewegung auftreten und bei Stillstand und Uhrenvergleich nicht erkennbar sein. Ist es erkennbar, so ist die bewegte Uhr tatsächlich langsamer gelaufen und daraus ergibt sich kein relativer Effekt sondern ein absoluter samt verletztem RP, denn offenbar haben sich im bewegten BS die physikalischen Gesetze verändert, die den Lauf der Uhr bestimmen!
Highway hat geschrieben:Zu 1.) Niemand ist langsamer gealtert. Der jeweil andere meint nur vom Gegenüber, dass dieser weniger gealtert sein.

Das wäre eine der Interpretationsmöglicheiten. Ebenso könnte man schließen, dass beide langsamer gealtert sind, aber gleich alt sind beim Uhrenvergleich, weil die Uhranzeigen übereinstimmen müssten. Andererseits können sie in ihren Eigensystemen nicht langsamer gealtert sein, weil sich ihre Eigenzeiten von den dilatierten Zeiten unterscheiden und auch unterscheiden müssen, sonst könnte keiner den dilatierten Lauf der anderen Uhr feststellen!
Highway hat geschrieben:Zu 2.) Ihre eigene Zeit. Die jeweils andere Uhr sehen sie als t' = (t-xv/c²) *y. Da zum Zeitpunkt des Uhrenvergleichs x=0, folgt t'=t*y

t'=t*y ist aber nicht die Eigenzeit des Beobachters. Würden das beide Uhren anzeigen, wären sie in den Eigensystemen verlangsamt gelaufen, dann hätte aber wiederum keiner der Beobachter die andere Uhr als dilatiert laufend feststellen können! Da hilft alles nichts, aus diesem Widerspruch führt kein Weg heraus!
Highway hat geschrieben:Anmerkung: Meiner Meinung nach laufen die Uhren nicht langsamer. Die Uhren des jeweils anderen Systems werden lediglich als langsamer laufend gesehen. Um wieviel die Uhr des anderen Systems langsamer läuft ändert sich aber auch mit der Entfernung, ausgedrückt durch xv/c². Je weiter das andere Raumschiff entfernt ist, desto langsamer scheint die Uhr zu laufen. Je näher das Raumschiff kommt, umso schneller laufend, bis zum Grenzwert t'=t*y, wird die Uhr gesehen.

Das ist nicht konsistenz mit der SRT, in welcher die ZD unabhängig von der Richtung ist. Der verlangsamte Lauf der Uhr kehrt sich bei Annäherung also nicht in einen schnelleren Lauf um.
Highway hat geschrieben:Das ist typisches Verhalten eines optisch beobachteten Vorgangs unter Änderung der Perspektive bei Annährerung und Entfernung. Ein Zug beispielsweise, der von weit her heran gefahren kommt, wird in der Ferne, durch die perspektivische Verzerrung, vom neben den Gleisen stehenden Beobachter als langsamer fahrend wahrgenommen, als wenn dieser unmittelbar am Beobachter vorbeifährt. Mit zunehmender Entfernung werden die optisch gleich lang aussehenden Streckenabschnitte immer längere Strecken. Diese werden allerdings mit gleicher Geschwindigkeit durchfahren, so dass der Beobachter den Eindruck bekommt, dass mit zunehmender Entfernung der Zug immer langsamer fährt.

Die ZD der SRT ist kein optisch beobachteter Vorgang. Wäre das so, würde ein Uhrenvergleich bei der Rückkehr oder Zusammenkunft überhaupt keinen Unterschied ergeben. Relativisten meinen aber, dass gerade die Unterschiede bei den Uhranzeigen in diversen Experimenten die ZD "bestätigen". Was immer auch hier bestätigt wird, der relative Effekt der SRT kann es nicht sein. Jede bewegte und beim Vergleich zurück gebliebene Uhr muss in ihrem Eigensystem langsamer gelaufen sein. Das schließt die SRT aber aus, schon deshalb, weil gegenüber der Eigenzeit ja die Zeit der anderen Uhr im anderen BS als dilatiert laufend erkennbar sein muss!
Da hilft alles nichts, diese Variante des ZP ist mit der SRT nicht lösbar. Weil die sonst üblichen Tricks (Wechsel des Inertialsystems, Beschleunigung) hier nicht angewendet werden können!

Grüße
Harald Maurer
Harald Maurer
Administrator
 
Beiträge: 3218
Registriert: Di 30. Dez 2008, 13:05
Wohnort: Graz

Nächste

Zurück zu Relativitätstheorie

Wer ist online?

Mitglieder in diesem Forum: 0 Mitglieder und 23 Gäste